Вернуться в общее описание
Редукторы NMRV имеют следующие типоразмеры:
nmrv 030, nmrv 040, nmrv 050, nmrv 063, nmrv 075, nmrv 090, nmrv 110, nmrv 130, nmrv 150
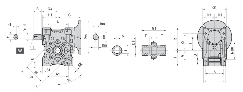
Габаритные и присоединительные размеры NMRV
Размеры выходного фланца NMRV
Размеры входного (моторного) фланца NMRV
Размеры выходного вала NMRV
Рычаг крутящего момента NMRV
Монтажные позиции NMRV
Устройство редуктора NMRV
Выходные обороты и мощность электродвигателей (кВт)

|
030 |
040 |
050 |
063 |
075 |
090 |
110 |
130 |
150 |
A |
54 |
70 |
80 |
100 |
120 |
140 |
170 |
200 |
240 |
A1 |
54 |
70 |
80 |
100 |
120 |
140 |
164-170 |
200 |
240 |
B |
20 |
23 |
30 |
40 |
50 |
50 |
60 |
80 |
80 |
D |
14 |
18(19) |
25(24) |
25(28) |
28 (30) (32) (35) |
35(38) (40) |
42 |
45 |
50 |
D1 |
9 |
11 |
14 |
19 |
24 |
24 |
28 |
30 |
35 |
G |
55 |
70 |
80 |
109 |
126,5 |
145 |
185,5 (РАМ 132) |
180 |
210 |
168 (РАМ 80-112) |
G1 |
63 |
78 |
92 |
112 |
120 |
140 |
155 |
170 |
200 |
G3 |
45 |
53 |
64 |
75 |
90 |
108 |
135 |
155 |
175 |
Н |
40 |
50 |
60 |
72 |
86 |
103 |
127,5 |
147,5 |
170 |
Н1 |
40 |
50 |
60 |
72 |
89 |
103 |
127,5 |
147,5 |
170 |
1 |
30 |
40 |
50 |
63 |
75 |
90 |
110 |
130 |
150 |
К |
44 |
60 |
70 |
85 |
90-95 |
100 |
115 |
120 |
145 |
KE |
M6*11 n°4 |
M6*11 n°4 |
M8*10 n°4 |
M8*14 n°8 |
M8*14 n°8 |
M10*18 n°8 |
M10*18 n°8 |
M12*21 n°8 |
M12*21 n°8 |
L |
56 |
71 |
85 |
103 |
112 |
130 |
144 |
155 |
185 |
M |
65 |
75 |
85 |
95 |
115 |
130 |
165 |
215 |
215 |
N |
55 |
60 |
70 |
80 |
95 |
110 |
130 |
180 |
180 |
N1 |
29 |
36,5 |
43,5 |
53 |
57 |
67 |
74 |
81 |
96 |
O |
6,5 |
6,5 |
8,5 |
8,5 |
11 |
13 |
14 |
16 |
18 |
P |
75 |
87 |
100 |
110 |
131 |
160 |
200 |
250 |
250 |
Q |
44 |
55 |
64 |
80 |
93 |
102 |
125 |
140 |
180 |
R |
57 |
71,5 |
84 |
107 |
123 |
144 |
167,5 |
187,5 |
230 |
S |
5,5 |
6,5 |
7 |
8 |
10 |
11 |
14,5 |
15,5 |
18 |
S1 |
5,5 |
6,5 |
7 |
8 |
13 |
11 |
14,5 |
15,5 |
18 |
T |
21 |
26 |
30 |
36 |
40 |
45 |
50 |
60 |
72,5 |
V |
27 |
35 |
40 |
50 |
60 |
70 |
82-85 |
100 |
120 |
W |
0° |
45° |
45° |
45° |
45° |
45° |
45° |
45° |
45° |
b |
5 |
6(6) |
8(8) |
8(8) |
8 (8) (10) (10) |
10(10) (12) |
12 |
14 |
14 |
t |
16,3 |
20,8(21,8) |
28,3(27,3) |
28,3 (31,3) |
31,3(33,3) (35,3) (38,3) |
38,3 (41,3) (43,3) |
45,3 |
48,8 |
53,8 |
b1 |
3 |
4 |
5 |
6 |
8 |
8 |
8 |
8 |
10 |
t1 |
10,2 |
12,5 |
16 |
21,5 |
27 |
27 |
31 |
33 |
|
f |
- |
- |
M6 |
M6 |
M8 |
M8 |
M10 |
M10 |
M12 |
Kg |
1,2 |
2,3 |
3,5 |
6,2 |
9 |
13 |
21 |
43,5 |
77 |
|